Poidła miseczkowe dla cieląt – przegląd oferty
Odpowiedni dostęp do wody to jeden z kluczowych elementów prawidłowego odchowu cieląt. Już od pierwszych tygodni życia ilość, jakość i higiena wody mają bezpośredni wpływ na pobranie paszy, rozwój żwacza, odporność oraz tempo wzrostu młodego bydła. Dlatego wybór właściwego poidła miseczkowego nie jest detalem — to realna decyzja hodowlana.
W naszej ofercie znajdują się poidła miseczkowe przeznaczone specjalnie dla cieląt, zaprojektowane z myślą o ich masie ciała, sposobie pobierania wody oraz warunkach panujących w oborach i cielętnikach. Różnią się one materiałem wykonania, pojemnością, rodzajem zaworu, sposobem montażu oraz możliwością zastosowania w systemach ogrzewanych lub nieogrzewanych.
Przy ich projektowaniu kluczowe są:
- higiena i łatwość czyszczenia,
- odporność na intensywne użytkowanie,
- bezpieczny i naturalny sposób pobierania wody przez cielę,
- dopasowanie wysokości montażu do wieku i wielkości zwierząt,
- odporność materiałów na wilgoć, mróz i środki dezynfekcyjne.
W dalszej części artykułu przedstawimy poszczególne modele poideł miseczkowych dla cieląt dostępne w naszej ofercie, omawiając ich zastosowanie, różnice konstrukcyjne oraz to, dla jakich warunków i systemów utrzymania sprawdzą się najlepiej. Naszym celem jest dostarczenie hodowcom rzetelnej wiedzy, która pomoże dobrać rozwiązanie dopasowane do realnych potrzeb gospodarstwa — nie tylko „na teraz”, ale na lata.
Jak dobrać poidło miseczkowe dla cieląt?
Cielęta mają inne potrzeby niż dorosłe bydło — zarówno pod względem wielkości pyska, siły nacisku na zawór, jak i ilości pobieranej wody. Dlatego poidła przeznaczone do ich odchowu różnią się konstrukcją, pojemnością miski oraz sposobem uruchamiania zaworu.
W ofercie poideł miseczkowych dla cieląt znajdziemy rozwiązania:
- zaworowe (językowe lub naciskowe) – uruchamiane pyskiem cielęcia, uczące naturalnego pobierania wody,
- o różnych średnicach przyłączy (½”, ¾”) – co ma znaczenie przy planowaniu instalacji wodnej,
- wykonane z trwałych materiałów: tworzyw sztucznych, żeliwa emaliowanego lub stali nierdzewnej,
- z osłonami lub bez – w zależności od intensywności użytkowania i warunków w cielętniku,
- przeznaczone do montażu na ścianie lub konstrukcji nośnej.
Kluczowe znaczenie ma także wysokość montażu. Dla cieląt poidła powinny być instalowane znacznie niżej niż dla dorosłych krów, tak aby zwierzę mogło swobodnie pić wodę bez nienaturalnego unoszenia głowy. Odpowiednia wysokość sprzyja nie tylko komfortowi, ale i prawidłowemu pobieraniu wody, które — szczególnie przy wyższych temperaturach — szybko rośnie.
W kolejnych sekcjach przedstawiamy konkretne modele poideł miseczkowych dla cieląt dostępne w naszej ofercie, omawiając:
- ich budowę i sposób działania,
- różnice pomiędzy poszczególnymi wariantami,
- zastosowanie w zależności od wieku cieląt i systemu utrzymania.
Celem tego przeglądu jest ułatwienie świadomego wyboru — takiego, który realnie wspiera zdrowy odchów, a nie jest przypadkowym elementem wyposażenia obory.
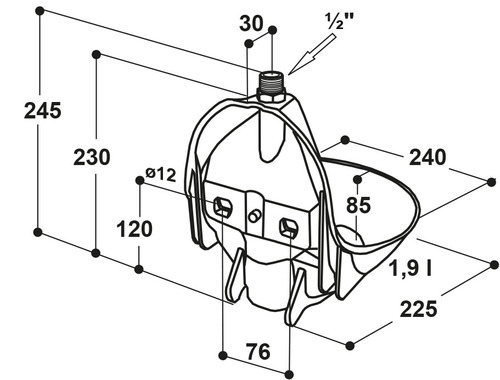
Poidło miseczkowe dla cieląt – model 370-MS ½”




Wśród poideł miseczkowych przeznaczonych do odchowu cieląt szczególną uwagę zwracają modele wykonane z żeliwa emaliowanego, które łączą wysoką trwałość z bardzo dobrą higieną użytkowania. Model 370-MS ½” to rozwiązanie zaprojektowane z myślą o młodych zwierzętach, które dopiero uczą się pobierania wody w sposób samodzielny.
Miseczka wykonana jest z żeliwa i w całości pokryta emalią. Taka powierzchnia jest gładka, odporna na uszkodzenia mechaniczne i łatwa do utrzymania w czystości, co ma kluczowe znaczenie w cielętnikach, gdzie higiena bezpośrednio wpływa na zdrowie zwierząt. Emaliowane poidła dobrze znoszą codzienne mycie oraz stosowanie środków dezynfekcyjnych.
Zastosowany zawór rurowy zapewnia spokojny, kontrolowany wypływ wody. W przeciwieństwie do poideł z pływakiem woda nie zalega w miseczce, dzięki czemu cielęta mają zawsze dostęp do świeżej i czystej wody. Dodatkowo niewielka komora za zaworem pełni funkcję „rezerwy” wody, co zachęca młode zwierzęta do naciskania zaworu i ułatwia naukę picia.
Konstrukcja zaworu umożliwia jego uruchamianie z każdej strony, co ma znaczenie szczególnie przy młodszych cielętach, które dopiero uczą się prawidłowej pozycji przy poidle. Przepływ wody można płynnie regulować z zewnątrz, dopasowując go do wieku zwierząt oraz ciśnienia w instalacji wodnej.
Model 370-MS wyposażony jest w przyłącze ½” od góry i może być montowany na ścianie, rurze lub w narożnikach 90°, co daje dużą elastyczność przy projektowaniu i modernizacji cielętników. Poidło przystosowane jest do pracy przy standardowych instalacjach wodnych o wyższym ciśnieniu.
To rozwiązanie sprawdzi się wszędzie tam, gdzie liczy się trwałość, higiena oraz łatwy start cieląt z samodzielnym pobieraniem wody.
Poidło miseczkowe dla cieląt – model 135P

Model 135P to poidło miseczkowe o dużej pojemności, zaprojektowane z myślą o grupowym pojen iu cieląt oraz intensywnym użytkowaniu. Dzięki pojemności aż 6 litrów zapewnia stały i komfortowy dostęp do wody nawet wtedy, gdy z poidła korzysta kilka zwierząt jednocześnie.
Miseczka wykonana jest z wytrzymałego tworzywa sztucznego, odpornego na uderzenia i codzienną eksploatację. Brak ostrych krawędzi zwiększa bezpieczeństwo użytkowania i ogranicza ryzyko urazów u młodych zwierząt. Lekka konstrukcja ułatwia montaż oraz obsługę poidła.
Model 135P wyposażony jest w zawór pływakowy, który utrzymuje stały poziom wody i umożliwia jej szybkie uzupełnianie w trakcie picia. Rozwiązanie to sprawdza się szczególnie dobrze w kojcach grupowych, gdzie pobór wody bywa intensywny i nierównomierny.
Poidło posiada przyłącze ½” z możliwością podłączenia instalacji wodnej z prawej lub lewej strony, co ułatwia dopasowanie do układu rurociągów. Dodatkowym atutem jest gumowy korek spustowy, który umożliwia szybkie opróżnienie miski z wody bez użycia narzędzi — co znacząco ułatwia czyszczenie i dezynfekcję.
Model 135P dostępny jest również w wersji przystosowanej do niskiego ciśnienia oraz jako wariant z możliwością podgrzewania, co pozwala dopasować poidło do różnych warunków technicznych i klimatycznych.
To rozwiązanie polecane dla cieląt utrzymywanych w grupach, tam gdzie liczy się duża pojemność, prostota obsługi i niezawodność.
Poidło miseczkowe dla cieląt – model 10P-MS½” z zaworem mosiężnym




W odchowie cieląt coraz częściej poszukiwane są poidła lekkie, elastyczne i odporne na uszkodzenia mechaniczne. Model 10P-MS½” to poidło miseczkowe wykonane z wysokiej jakości tworzywa sztucznego, zaprojektowane z myślą o intensywnym użytkowaniu oraz bezpieczeństwie młodych zwierząt.
Miseczka wykonana jest z elastycznego tworzywa odpornego na uderzenia i nacisk. Materiał ugina się pod obciążeniem, a następnie wraca do pierwotnego kształtu, co znacząco zmniejsza ryzyko pęknięć i uszkodzeń. Brak ostrych krawędzi sprawia, że poidło jest bezpieczne dla cieląt nawet przy dynamicznym zachowaniu zwierząt.
Zastosowany mosiężny zawór rurowy zapewnia płynny, spokojny wypływ wody. Dzięki temu cielęta chętnie korzystają z poidła, a woda nie rozchlupuje się poza miskę. Dodatkowa, niewielka niecka przy zaworze działa zachęcająco — ułatwia cielętom zrozumienie mechanizmu działania poidła i przyspiesza naukę samodzielnego picia.
Model dostępny jest w wariantach różniących się sposobem regulacji przepływu wody. W zależności od wersji możliwa jest regulacja poprzez zmianę średnicy otworu dyszy lub płynna regulacja z zewnątrz za pomocą śruby regulacyjnej. Pozwala to łatwo dopasować ilość podawanej wody do wieku cieląt oraz parametrów instalacji wodnej.
Poidło posiada przyłącze ½” od góry i przystosowane jest do pracy przy standardowych instalacjach wodnych o podwyższonym ciśnieniu. Dzięki niewielkiej wadze i elastycznej konstrukcji dobrze sprawdza się zarówno w indywidualnych kojcach dla cieląt, jak i w większych cielętnikach.
Model 10P-MS½” to praktyczne rozwiązanie dla hodowców, którzy szukają poidła trwałego, bezpiecznego i łatwego w użytkowaniu, szczególnie w miejscach narażonych na uderzenia lub intensywną eksploatację.
Poidło miseczkowe dla cieląt – model 340

Model 340 to poidło miseczkowe o większej pojemności, zaprojektowane z myślą o intensywniejszym użytkowaniu oraz obsłudze kilku zwierząt jednocześnie. Sprawdza się szczególnie dobrze w kojcach grupowych dla cieląt oraz tam, gdzie pobór wody jest wyraźnie większy niż w pierwszych tygodniach odchowu.
Miseczka wykonana jest z żeliwa i pokryta czarną emalią, co zapewnia wysoką odporność na uszkodzenia mechaniczne, ścieranie oraz działanie wilgoci. Gładka powierzchnia emalii ułatwia codzienne czyszczenie i utrzymanie odpowiedniej higieny, co ma bezpośrednie znaczenie dla zdrowia młodego bydła.
Model 340 wyposażony jest w zawór pływakowy, który utrzymuje stały poziom wody w misce i umożliwia szybkie jej uzupełnianie w trakcie picia. Dzięki temu cielęta mają ciągły dostęp do wody bez konieczności naciskania zaworu, co jest szczególnie istotne przy większej liczbie zwierząt korzystających z jednego poidła.
Mechanizm zaworu chroniony jest zdejmowaną osłoną ze stali nierdzewnej, która zabezpiecza pływak przed zabrudzeniem i uszkodzeniami. Rozwiązanie to ułatwia serwisowanie poidła oraz jego regularne czyszczenie, nawet w warunkach intensywnej eksploatacji.
Poidło posiada przyłącze ½”, z możliwością podłączenia instalacji wodnej z lewej lub prawej strony, co ułatwia montaż i dopasowanie do istniejącej infrastruktury. Konstrukcja pozbawiona ostrych krawędzi zwiększa bezpieczeństwo zwierząt podczas użytkowania.
Model 340 polecany jest dla cieląt starszych oraz w kojcach grupowych, a także w sytuacjach, gdy poidło ma pozostać w oborze na dłużej i być wykorzystywane również przez większe zwierzęta. To solidne, uniwersalne rozwiązanie dla gospodarstw, w których liczy się trwałość, komfort zwierząt i niezawodność na lata.